Cookies help us deliver our services. By using our services, you agree to our use of cookies.
OK
Learn more
Group HES
Hydraulic Equipment Supermarkets
Branch Hydraulic Systems
HES Tractec
HES Lubemec
HES Automatec
T
01452 733106
|
E
enquiries@grouphes.com
Register
Log in
Shopping cart
(0)
You have no items in your shopping cart.
Home
About Us
Services
Manufacturers
Contact
Carraro Axle 149526
Back to search page
4
5
6
7
8
9
10
11
12
13
14
15
16
17
18
19
20
21
22
23
24
25
26
27
28
29
30
31
32
33
34
35
36
37
38
39
40
Call for pricing
Document Revision
1,
Page
34
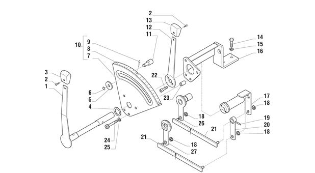
Pos
Part
Qty
Description
Kit
Note
1
TR01650
1
Position lever
2
TR01774
2
Screw M3.5x13
3
TR01775
1
Yellow knob
4
TR01776
1
washer 55x34.6x1.5
5
TR01684
1
Nut
6
TR01683
1
Snap ring
7
1
46867
8
TR01777
1
Decal
46867
9
TR01778
3
Rivet ø .3
46867
10
TR01754
1
Sector assembly
11
TR01687
1
Stud M16x2
12
TR01649
1
Position lever
13
TR01779
1
Red knob
14
TR00066
2
Screw M10x1.5x25
15
TR00360
2
washer ø 10
16
TR01791
1
Support
17
TR01755
1
Shaft
18
TR01792
4
Snap ring
19
TR00458
1
Split pin ø .6x25
20
TR01756
1
Lever
21
TR01793
2
Tie rod assembly
22
TR00170
2
Screw M6x16x1
23
TR01681
4
Spacer
24
TR00188
4
Screw M8x30
25
TR00359
4
washer ø 8