Cookies help us deliver our services. By using our services, you agree to our use of cookies.
OK
Learn more
Group HES
Hydraulic Equipment Supermarkets
Branch Hydraulic Systems
HES Tractec
HES Lubemec
HES Automatec
T
01452 733106
|
E
enquiries@grouphes.com
Register
Log in
Shopping cart
(0)
You have no items in your shopping cart.
Home
About Us
Services
Manufacturers
Contact
Carraro Axle 143208
Back to search page
3
4
5
6
7
8
9
10
11
Call for pricing
Document Revision
0,
Page
8
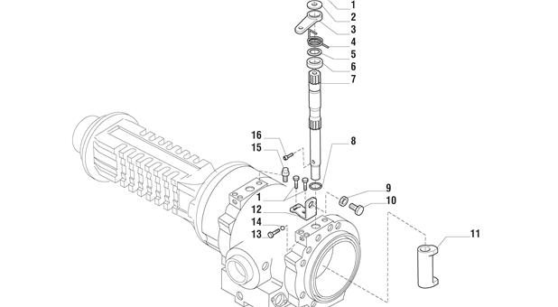
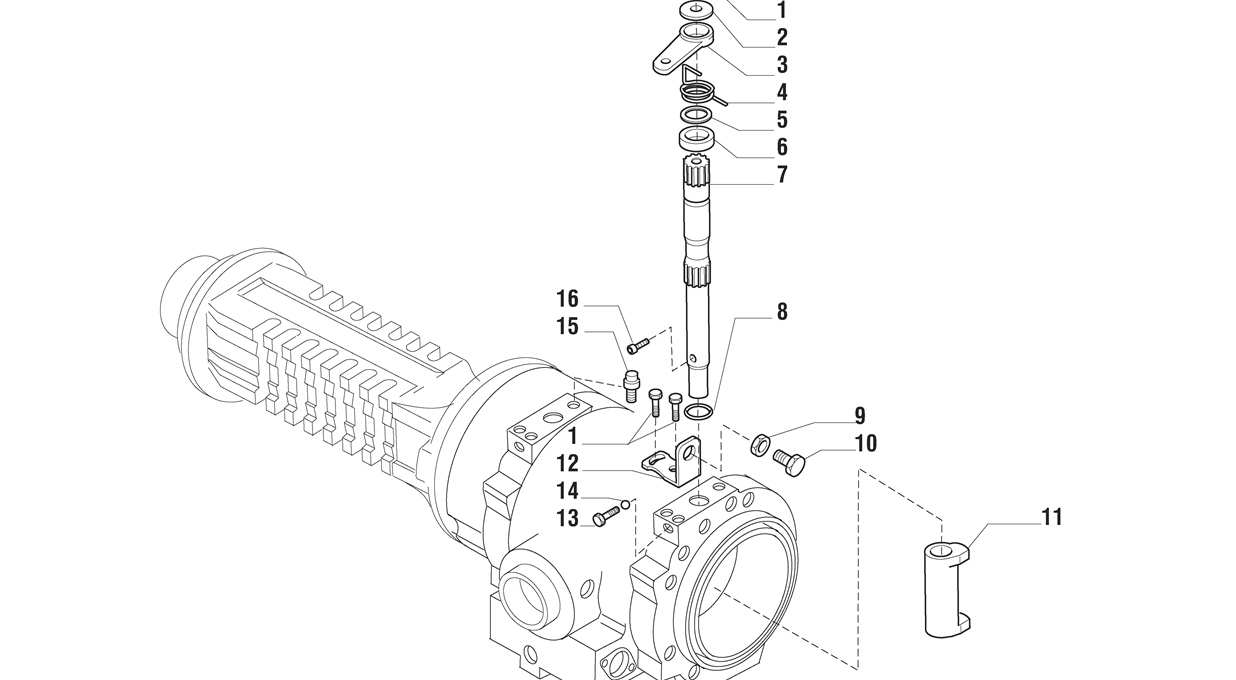
Pos
Part
Qty
Description
Kit
Note
1
TR03957
6
Screw M8x20
2
TR04697
2
washer 35x9x5
3
TR05410
2
Brakes lever
4
TR04898
1
Spring RH
4
TR04899
1
Spring SX
5
TR05658
2
Thrustwasher
6
TR05657
2
Spacer 38x26.3x17
7
TR05935
2
Shaft
8
TR01088
2
Ring
9
TR05778
2
Nut M16x1.5
10
TR05779
2
Nut
11
TR04713
2
Cam shaft
12
TR05656
2
Lock lever bracket
13
TR05821
2
Screw M8x23.5
14
TR00900
2
Ball ø 6.5
15
TR03139
2
Reniflard M 10x1
16
TR05661
2
Screw M6x16