Cookies help us deliver our services. By using our services, you agree to our use of cookies.
OK
Learn more
Group HES
Hydraulic Equipment Supermarkets
Branch Hydraulic Systems
HES Tractec
HES Lubemec
HES Automatec
T
01452 733106
|
E
enquiries@grouphes.com
Register
Log in
Shopping cart
(0)
You have no items in your shopping cart.
Home
About Us
Services
Manufacturers
Contact
Carraro Axle 141320
Back to search page
3
4
5
6
7
8
Call for pricing
Document Revision
1,
Page
5
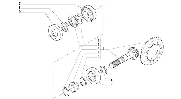
Pos
Part
Qty
Description
Kit
Note
1
TR02630
1
Bevelgear / pinion set Z = 9/32
2
TR03225
1
XXX
66872
3
TR03224
1
XXX
66872
4
TR03736
2
XXX
66872
5
TR03728
1
XXX
66872
6
TR03226
0
Shim 2.5m m
6
TR03227
0
Shim 2.6m m
6
TR03228
0
Shim 2.7m m
6
TR03229
0
Shim 2.8m m
6
TR03230
0
Shim M20x1.5
6
TR03231
0
washer
6
TR03232
0
Shim 3.1m m
6
TR03233
0
Shim 3.2m m
6
TR03234
0
Shim 3.3m m
6
TR03235
0
Shim 3.4m m
7
TR00771
2
XXX
8
TR03808
1
Sealring 20x40x14
9
TR04163
1
Oil seal cover